Verify Migration Guide
The following guide will help you migrate from the deprecated Verify Legacy to Verify. To do this, you need to update your endpoint URLs to call the new version and modify your application settings; you are not required to fill any pre-registration form in order to start using Verify.
Summary
The Vonage Verify API is a service that allows developers to implement two-factor authentication (2FA) to protect against fraud and ensure user authenticity. Vonage offers two versions of this API: Legacy and the current Verify. While both versions serve the same primary function, there are significant differences in their features, functionalities, and usage.
Major Differences
- Flexibility and Customization: Verify now offers more flexible workflow creation and enhanced customization options such as a more feature-rich Custom Templates management system compared to Legacy.
- Channel Support: Verify now includes additional support for verification through various new channels like Silent Auth, RCS, WhatsApp and Email, while Legacy is limited to SMS and voice.
- Security Features: Verify now includes improved security features and compliance with the latest standards.
- Fraud Protection: Customers who migrate from Verify Legacy to the new Verify API have protection and access to Vonage Fraud Defender Advanced at no additional cost.
- Error Handling: Verify now provides more detailed error messages and improved handling, such as well as more advanced rate limiting and automatic retry mechanisms.
- API Design and Integration: Verify supports both synchronous and asynchronous integration patterns.
Feature Comparison
| Feature/Function | Verify (Legacy) | Verify |
|---|---|---|
| Basic Verification | SMS, Voice | Silent Auth, RCS, SMS, Voice, Email, WhatsApp |
| Request ID Handling | Basic request ID system | Enhanced request ID tracking with more metadata |
| Custom Workflow Configuration | Limited | Extensive, including multiple channel configurations |
| PIN Expiry Management | Configurable but limited (60 to 3600 seconds) | More granular control over PIN expiry and event timings |
| Security Compliance | Basic, compliant with older standards | Advanced, compliant with latest security standards |
| Error Handling | Basic error messages | Detailed error messages with extensive error codes |
| Rate Limiting | Basic rate limiting | Improved rate limiting mechanisms |
| Retry Mechanism | Basic retry on failure | Advanced retry logic with customizable retry workflows |
| Analytics and Reporting | Limited reporting capabilities | Enhanced analytics and detailed reporting |
| Localization Support | Basic localization (limited languages) | Enhanced localization with more languages and custom messages |
| API Documentation and Support | Comprehensive but older documentation | Modern, detailed, and more user-friendly documentation |
API Calls
Important: Verify v2 uses JWT Bearer authentication (not api_key / api_secret). Before making any v2 API calls, create a Vonage Application in the Dashboard, generate application ID and private key, and use them to sign JWTs. See the Authentication guide.
Asynchronous mode has been introduced in Verify, allowing you to receive messages and call statuses by webhook, receiving both event (in the case of whatsapp_interactive) and summary callbacks. You can also use it synchronously with redirect_url and check_url.
You must configure your webhooks for Verify callbacks in the Application section of the Customer Dashboard:

Further documentation on webhooks can be found here.
Endpoints
All Verify API calls need to be updated to use the new endpoint:
| Function | Verify (Legacy) | Verify |
|---|---|---|
| Send Verification Request | POST https://api.nexmo.com/verify/ | POST https://api.nexmo.com/v2/verify |
| Check verification request | POST https://api.nexmo.com/verify/check/:format | POST https://api.nexmo.com/v2/verify/:request_id |
| Verify Search | https://api.nexmo.com/verify/search/:format | Not currently available. Use statuses sent to your webhooks to monitor past or current requests in the interim. See Summary Callbacks and Webhooks. |
| Cancel Request | POST https://api.nexmo.com/verify/control/:format with cmd = cancel | DELETE https://api.nexmo.com/v2/verify/:request_id |
| Trigger Next event in the workflow | POST https://api.nexmo.com/verify/control/:format with cmd = trigger_next_event | POST https://api.nexmo.com/v2/verify/:request_id/next-workflow |
| Custom Templates | POST https://api.nexmo.com/verify/templates | GET https://api.nexmo.com/v2/verify/templatesPOST https://api.nexmo.com/v2/verify/templatesGET https://api.nexmo.com/v2/verify/templates/:template_idPATCH https://api.nexmo.com/v2/verify/templates/:template_idDELETE https://api.nexmo.com/v2/verify/templates/:template_id |
| PSD2 | POST https://api.nexmo.com/verify/psd2/:format | Deprecated |
| Network Unblock | POST https://api.nexmo.com/verify/network-unblock | POST https://api.nexmo.com/v2/verify/network-unblock |
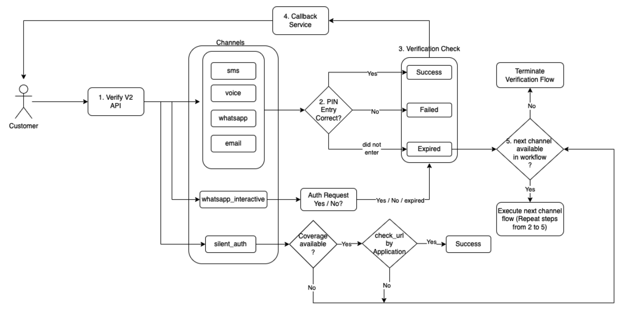
Workflows
Verify provides you with the flexibility to define your own workflow, as opposed to the fixed workflows of Legacy. You can specify any combination of supporting channels of your choice in the workflow, to a maximum of three channels.
Further documentation on workflows can be found here.
Channels
New channels are now available in Verify:
- SMS
- Voice (formerly TTS in Legacy)
- Silent Authentication
- RCS
For more detailed information on these channels refer to the API Specification.
Documentation specific to silent authentication can be found here.
Summary Callbacks
Callbacks are returned to your webhook with the status of the event, corresponding request_id & channel. The following sequence diagrams show how this works when using a single channel, or using multiple channels in your workflow.
Single Channel

Multiple Channels

Response Codes
In addition to changing your endpoints, your applications also need to be updated to understand the response codes received when using Verify:
| HTTP Code | Definition |
|---|---|
Creating a request: POST /v2/verify | |
| 202 | Request was accepted. Delivery in progress. |
| 409 | There is an in-progress request to this number. |
| 422 | Error processing the request. |
Validating a request: POST /v2/verify/{request_id} | |
| 200 | Success! Correct code was provided. |
| 400 | An incorrect code was provided. |
| 404 | Request could not be found. |
| 409 | Current action does not support a pin check. |
| 410 | Incorrect code was provided many times. |
| 422 | Request cannot be validated. |
Request Cancellation
| Verify (Legacy) | Verify |
|---|---|
| Verify Control could be used to cancel an ongoing verification requests. Cannot cancel within the first 30 seconds of the request. | Send a cancellation request - if the verification request is active, it aborts the workflow. |
Templates
| Verify (Legacy) | Verify |
|---|---|
| Customers can use a customized template to send verify messages (documentation) | Verify supports both pre-defined templates and custom templates. Manage templates using the Template Management guide. |
PSD2 Compliance
| Verify (Legacy) | Verify |
|---|---|
| Is PSD2 compliant | Deprecated |
Search Verification Request
| Verify (Legacy) | Verify |
|---|---|
| Use Verify Search to check the status of past or current verification requests. | Use statuses sent to your webhooks to monitor past or current requests. See Summary Callbacks and Webhooks. |
Fraud Management
Note that Network Blocks are only applied to the SMS and Voice channels in the Verify API.
| Verify (Legacy) | Verify |
|---|---|
| Blocks triggered by velocity rules are responded with Error 7 | Blocks triggered by velocity rules are displayed with status blocked and reason Fraudulent traffic detected for your account on network [23415]. in the summary callback |
| Network Unblocks can be issued using the Network Unblock API. | Uses the same API for unblocks. |
| Further documentation: Legacy Anti-Fraud System | Further Documentation: Anti-Fraud System |
Verify Sequence Diagrams
Verify Flow

Verify Request with Summary Callbacks

Silent Authentication Sequence Diagram

Verify Payload Parameter Analysis for V1 vs V2
Authentication (Verify v2): Verify v2 uses JWT Bearer authentication. Generate a JWT using your Vonage Application ID and Private Key, and send it in the Authorization header (read more in the Authentication guide). api_key and api_secret are not included in the v2 request payload.
Send Verification Request
| Parameter | Verify (Legacy) | Verify (V2) | Notes |
|---|---|---|---|
| API Key | api_key | N/A | |
| API Secret | api_secret | N/A | |
| Phone Number | number | to | |
| Brand | brand | Included in workflow.channels.template | |
| Sender ID | sender_id | from | Applicable for channel = SMS & Email in V2 |
| Code Length | code_length | code_length | |
| Language | lg | locale | |
| Pin Expiry | pin_expiry | channel_timeout | |
| Next Event Wait | next_event_wait | N/A | |
| Workflow Identifier | workflow_id | Custom workflow in workflow.channels | Flexible setting of channels in the workflow |
| Custom Code | pin_code | code | |
| Template | N/A | template_id | Template Management documentation for V2 |
| N/A | workflow.channels.email | ||
| N/A | workflow.channels.whatsapp | ||
| Silent Auth | N/A | workflow.channels.silent_auth | |
| Entity ID | N/A | entity_id | Applicable for channel = SMS in V2 |
| Content ID | N/A | content_id | Applicable for channel = SMS in V2 |
| Application Identifier | N/A | app_hash | Applicable for channel = SMS in V2 |
Check Verification Request
| Parameter | Verify (Legacy) | Verify (V2) |
|---|---|---|
| API Key | api_key | N/A |
| API Secret | api_secret | N/A |
| Request ID | request_id | request_id |
| Code | code | code |
Search Verification Request
| Parameter | Verify (Legacy) | Verify (V2) |
|---|---|---|
| API Key | api_key | N/A |
| API Secret | api_secret | N/A |
| Request ID | request_id | N/A |
Cancel Verification Request
| Parameter | Verify (Legacy) | Verify (V2) | Notes |
|---|---|---|---|
| API Key | api_key | N/A | |
| API Secret | api_secret | N/A | |
| Request ID | request_id | request_id | |
| Command | cmd=cancel | N/A | V2 uses a dedicated endpoint for cancellation. |
Trigger Next Verification Process
| Parameter | Verify (Legacy) | Verify (V2) | Notes |
|---|---|---|---|
| API Key | api_key | N/A | |
| API Secret | api_secret | N/A | |
| Request ID | request_id | request_id | |
| Command | cmd=trigger_next_event | N/A | V2 uses a dedicated endpoint for triggering the next action. |
Custom Templates
| Parameter | Verify (Legacy) | Verify (V2) |
|---|---|---|
| API Key | api_key | N/A |
| API Secret | api_secret | N/A |
| Channel | action_type | channel |
| Language | lg | locale |
| Template text | template | text |
| Text type for SMS | type | N/A |
| Media file URL | digit_n | N/A |
| Message start | welcome_message | N/A |
| Message end | bye_message | N/A |
| Zendesk ticket | contact_email | N/A |
| Template Name | N/A | name |
| Default Template Indicator | N/A | is_default |
| Template Reference | N/A | template_id |
PSD2 Compliance
| Parameter | Verify (Legacy) | Verify (V2) |
|---|---|---|
| API Key | api_key | N/A |
| API Secret | api_secret | N/A |
| Phone Number | number | N/A |
| Country Code | country | N/A |
| Recipient’s name | payee | N/A |
| Payment amount | amount | N/A |
| Code length | code_length | N/A |
| Language | lg | N/A |
| Pin Expiration | pin_expiry | N/A |
| Next Event Wait | next_event_wait | N/A |
| Workflow Identifier | workflow_id | N/A |
Verify V1 vs Verify V2 Workflow Mapping
Workflow 1 (Default)
Pattern: SMS → TTS → TTS
Verify V1
{
"api_key": "your_key",
"api_secret": "your_secret",
"number": "15555551234",
"brand": "YourBrand",
"workflow_id": 1
}
Verify V2
{
"brand": "YourBrand",
"workflow": [
{"channel": "sms", "to": "15555551234"},
{"channel": "voice", "to": "15555551234"},
{"channel": "voice", "to": "15555551234"}
]
}
Workflow 2
Pattern: SMS → SMS → TTS
Verify V1
{
"api_key": "your_key",
"api_secret": "your_secret",
"number": "15555551234",
"brand": "YourBrand",
"workflow_id": 2
}
Verify V2
{
"brand": "YourBrand",
"workflow": [
{"channel": "sms", "to": "15555551234"},
{"channel": "sms", "to": "15555551234"},
{"channel": "voice", "to": "15555551234"}
]
}
Workflow 3
Pattern: TTS → TTS
Verify V1
{
"api_key": "your_key",
"api_secret": "your_secret",
"number": "15555551234",
"brand": "YourBrand",
"workflow_id": 3
}
Verify V2
{
"brand": "YourBrand",
"workflow": [
{"channel": "voice", "to": "15555551234"},
{"channel": "voice", "to": "15555551234"}
]
}
Workflow 4
Pattern: SMS → SMS
Verify V1
{
"api_key": "your_key",
"api_secret": "your_secret",
"number": "15555551234",
"brand": "YourBrand",
"workflow_id": 4
}
Verify V2
{
"brand": "YourBrand",
"workflow": [
{"channel": "sms", "to": "15555551234"},
{"channel": "sms", "to": "15555551234"}
]
}
Workflow 5
Pattern: SMS → TTS
Verify V1
{
"api_key": "your_key",
"api_secret": "your_secret",
"number": "15555551234",
"brand": "YourBrand",
"workflow_id": 5
}
Verify V2
{
"brand": "YourBrand",
"workflow": [
{"channel": "sms", "to": "15555551234"},
{"channel": "voice", "to": "15555551234"}
]
}
Workflow 6
Pattern: SMS
Verify V1
{
"api_key": "your_key",
"api_secret": "your_secret",
"number": "15555551234",
"brand": "YourBrand",
"workflow_id": 6
}
Verify V2
{
"brand": "YourBrand",
"workflow": [
{"channel": "sms", "to": "15555551234"}
]
}
Workflow 7
Pattern: TTS
Verify V1
{
"api_key": "your_key",
"api_secret": "your_secret",
"number": "15555551234",
"brand": "YourBrand",
"workflow_id": 7
}
Verify V2
{
"brand": "YourBrand",
"workflow": [
{"channel": "voice", "to": "15555551234"}
]
}